30729
1
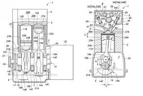
Парни решили посмотреть что происходит в двухтактном двигателе внутреннего сгорания во время работы и сделали прозрачную головку цилиндра.
Источник:
Ссылки по теме:
- Несколько интересных фактов о ДВС
- Самые необычные двигатели всех времен
- Типы мотоциклетных двигателей
- Столкновение Мерседеса с Камазом
- Революция в мире моторов от Honda
реклама


если делать то надо чтоб работала ,а не плавилась.
а это минутная хрень для лайков.